

PN6
斯派莎克 Spirax Sarco DCV3 和 DCV3LT 为碟片式法兰对夹安装止回阀,适用于制程管道、热水、蒸汽等系统,符合多项欧洲标准,具备金属/软阀座可选、压力温度适配广等优势,安装灵活且密封性能可靠。

斯派莎克 Spirax Sarco DCV3 和 DCV3LT 是碟片式法兰对夹安装止回阀,专为工业场景设计,可广泛应用于制程管道、热水系统、蒸汽和冷凝水系统,同时支持油、空气、气体等多种介质输送。产品连接尺寸符合 EN 558 part 1 series 49 标准,通过 ISO 9001 认证,且符合欧洲设备报告 97/23/EC 要求,密封性能与结构稳定性兼具。

| DN 口径 | 标准弹簧/高温弹簧开启压力(mbar) | 无弹簧开启压力(mbar) | 重型弹簧开启压力(mbar) |
|---|---|---|---|
| 15 | 25 | 20 | 700 |
| 20 | 25 | 20 | 700 |
| 25 | 25 | 20 | 700 |
| 32 | 27 | 20 | 700 |
| 40 | 28 | 20 | 700 |
| 50 | 29 | 20 | 700 |
| 65 | 30 | 20 | 700 |
| 80 | 31 | 20 | - |
| 100 | 33 | 20 | - |
| DN 口径 | 15 | 20 | 25 | 32 | 40 | 50 | 65 |
|---|---|---|---|---|---|---|---|
| Kv 值 | 4.4 | 6.8 | 10.8 | 17 | 26 | 43 | 60 |

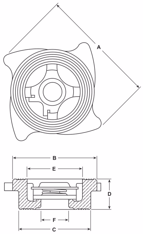
| 口径(DN) | 尺寸 A(mm) | 尺寸 B(mm) | 尺寸 C(mm) | 尺寸 D(mm) | 尺寸 E(mm) | 尺寸 F(mm) | 重量(kg) |
|---|---|---|---|---|---|---|---|
| 15 | 60.0 | 43 | 38 | 16.0 | 29.0 | 15 | 0.13 |
| 20 | 69.5 | 53 | 45 | 19.0 | 35.7 | 20 | 0.19 |
| 25 | 80.5 | 63 | 55 | 22.0 | 44.0 | 25 | 0.32 |
| 32 | 90.5 | 75 | 68 | 28.0 | 54.5 | 32 | 0.55 |
| 40 | 101.0 | 85 | 79 | 31.5 | 65.5 | 40 | 0.74 |
| 50 | 115.0 | 95 | 93 | 40.0 | 77.0 | 50 | 1.25 |
| 65 | 142.0 | 115 | 113 | 46.0 | 97.5 | 65 | 1.87 |
| 80 | 154.0 | 133 | 128 | 50.0 | 111.5 | 80 | 2.42 |
| 100 | 184.0 | 154 | 148 | 60.0 | 130.0 | 100 | 3.81 |

| 序号 | 部件名称 | 材质规格 | 执行标准 |
|---|---|---|---|
| 1 | 阀体 | 奥氏体不锈钢 | WS 1.4581 |
| 2 | 碟片 | 奥氏体不锈钢 | ASTM A276 316 |
| 3 | 弹簧定位器 | 奥氏体不锈钢 | BS 1449 316 S11 |
| 4 | 标准弹簧 | 奥氏体不锈钢 | BS 2056 316 S42 |
| 5 | 重型弹簧 | 奥氏体不锈钢 | BS 2056 316 S42 |
| 6 | 高温弹簧 | 镍合金 | Nimonic 90 |

| 代码 | 配置说明 |
|---|---|
| N | 高温弹簧 + 标准金属碟片 |
| W | 无弹簧 + 标准金属碟片 |
| H | 重型弹簧 + 标准金属碟片 |
| V | 标准弹簧 + Viton 软密封碟片 |
| E | 标准弹簧 + EPDM 软密封碟片 |
| WV | 无弹簧 + Viton 软密封碟片 |
| WE | 无弹簧 + EPDM 软密封碟片 |
| HV | 重型弹簧 + Viton 软密封碟片 |
| HE | 重型弹簧 + EPDM 软密封碟片 |
| T | 符合 EN 12266 rate D 标准(默认无标识为 rate E) |
斯派莎克 Spirax Sarco DN50 DCV3 止回阀,不锈钢材质,安装于 EN1092 PN25 法兰间(需明确阀座、弹簧类型及关紧度标准)
浏览更多同类产品