

面板安装
斯派莎克 Spirax Sarco DF2 消音器,结构紧凑,专为蒸汽疏水阀出口设计,安装于冷凝水回收管排放端。可有效降低冷凝水闪蒸产生的噪音并防止水锤现象,适配 ½" 和 ¾" 口径,最大允许压力 40bar g,最高允许温度 400℃,采用不锈钢材质制造,符合工业蒸汽系统使用需求。

斯派莎克 Spirax Sarco DF2 消音器是一款专为蒸汽疏水阀配套设计的降噪设备,结构紧凑,安装于向冷凝水回收管排放冷凝水的蒸汽疏水阀出口处。当冷凝水从蒸汽疏水阀中排放并因快速冷却形成闪蒸时,DF2 消音器可有效降低该过程中产生的噪音,同时防止水锤现象发生,保障蒸汽系统稳定运行。
| 技术指标 | 参数值 |
|---|---|
| 最大阀体设计标准 | PN40 |
| 最大允许压力(PMA) | 40bar g |
| 最大允许温度(TMA) | 400℃ |
| 最大工作压力(PMO) | 32bar g |
| 最大工作温度(TMO) | 400℃ |
| 最大冷态水试验压力 | 60bar g |
| 适配口径 | ½"、¾" |
| 连接方式 | 螺纹连接、承插焊端(按 BS3799 Class 3000 要求) |

工作范围
DF2 消音器适用于压力 0-40bar g、温度 0-400℃ 的蒸汽系统环境,需避开饱和蒸汽曲线对应的特定区域(具体参考上图标注区域),仅用于蒸汽疏水阀出口冷凝水排放场景。

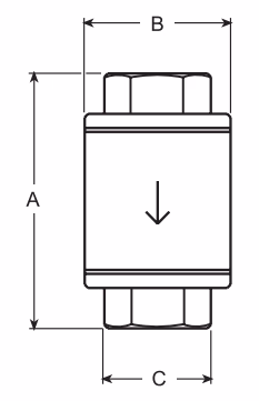
| 口径 | 尺寸 A (mm) | 尺寸 B (mm) | 尺寸 C (mm) | 重量 (kg) |
|---|---|---|---|---|
| ½" | 74 | 40 | 27 | 0.3 |
| ¾" | 74 | 40 | 32 | 0.3 |

| 序号 | 部件名称 | 材质标准 | 材质规格 |
|---|---|---|---|
| 1 | 外壳 | ASTM A240 | Gr. 304 不锈钢 |
| 2 | 凸台 | ASTM A351 | CF8 不锈钢 |
| 3 | 内件 | ASTM A580 | Gr. 304 不锈钢 |
安装要求
DF2 消音器需安装在蒸汽疏水阀的出口侧,安装时必须遵循阀体上标注的介质流向箭头,确保介质按规定方向通过消音器,以保证降噪和防水锤的效果。
斯派莎克 Spirax Sarco ½" DF2 消音器,螺纹 BSP 连接。
订购须知
订购时需明确产品品牌、口径、连接方式等关键信息,请根据实际系统需求选择对应口径的产品型号。