

The Spirax Sarco HV3 globe valve is a bronze-bodied globe valve conforming to BS 5154 Series A standard, suitable for steam, water, oil, and air applications. Available in multiple sizes with BSP threaded connections, offering excellent pressure and temperature adaptability, reliable construction, and recyclability.

The HV3 globe valve is a bronze-bodied globe valve introduced by Spirax Sarco, designed and manufactured in strict accordance with BS 5154 Series A standard. The product is suitable for various media scenarios including steam, water, oil, and air. With stable structural design and high-quality material selection, it can operate reliably over a wide range of pressures and temperatures. The valve body and key components are made of high-quality materials such as gunmetal and stainless steel, ensuring corrosion resistance and service life. The product is recyclable and, when properly handled, will not cause environmental harm.
| Parameter Name | Value |
|---|---|
| Body Design Pressure Rating | PN25 |
| Maximum Allowable Pressure (PMA) | 25 bar g @170 ℃ |
| Maximum Allowable Temperature (TMA) | 260 ℃ @10.5 bar g |
| Minimum Allowable Temperature | -10 ℃ |
| Maximum Operating Pressure (PMO) | 25 bar g @170 ℃ |
| Maximum Operating Temperature (TMO) | 260 ℃ @10.5 bar g |
| Minimum Operating Temperature | -10 ℃ |
| Maximum Cold Test Pressure | 38 bar g |
| Connection Type | BSP Threaded Connection |
| Size | KV Value | CV Value (UK) | CV Value (US) |
|---|---|---|---|
| ½" | 1.3 | 1.2519 | 1.5028 |
| ¾" | 1.6 | 1.5408 | 1.8496 |
| 1" | 4.2 | 4.0446 | 4.8552 |
| 1¼" | 13.8 | 13.3894 | 15.9528 |
| 1½" | 19.7 | 19.0711 | 22.7732 |
| 2" | 28 | 27.064 | 32.368 |

| Size | A (mm) | B (mm) | B1 (mm) | C (mm) | Weight (kg) |
|---|---|---|---|---|---|
| ½" | 67 | 102 | 110 | 60 | 0.60 |
| ¾" | 80 | 110 | 125 | 60 | 0.86 |
| 1" | 95 | 130 | 146 | 80 | 1.30 |
| 1¼" | 112 | 144 | 160 | 100 | 2.08 |
| 1½" | 132 | 144 | 160 | 100 | 2.86 |
| 2" | 160 | 174 | 203 | 120 | 4.65 |

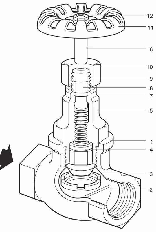
| No. | Component Name | Material Specification |
|---|---|---|
| 1 | Body | Gunmetal (BS1400 LG2) |
| 2 | Seat | Stainless Steel (AISI 431) |
| 3 | Plug | Stainless Steel (AISI 431) |
| 4 | Locking Nut | Gunmetal (BS1400 LG2) |
| 5 | Bonnet | Gunmetal (BS1400 LG2) |
| 6 | Stem | Austenitic Stainless Steel (BS 970 303 S31) / Gunmetal (BS1400 LG2) |
| 7 | Gasket | Gunmetal |
| 8 | Packing | PTFE |
| 9 | Gland | Gunmetal (BS1400 LG2) |
| 10 | Gland Nut | Gunmetal (BS1400 LG2) |
| 11 | Handwheel | Aluminum |
| 12 | Handwheel Nut | Brass |
The HV3 globe valve is widely used in the following scenarios due to its multi-media adaptability and stable pressure-temperature tolerance:
Explore similar products in our catalog